Наложи се да помоля модераторите да изтрият предния пост, защото бях допуснал принципна грешка.
Благодаря на Валери и argonavt за съдействието!
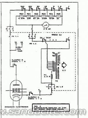
Функционални параметри/ точност при измерване на анодния ток "Ia"Магнитоелектрическата система на уреда е с ток на пълно отклонение
I0 - 200 μΑ и вътрешно съпротивление на подвижната бобина - 1040 Ω. В корпуса на система има добавъчно съпротивление, свързано /в моя случай/ естествено последователно. Не можах да го измеря понеже беше прекъснато. Наложи се да го пресметна - 1460 Ω. Общото вътрешно съпротивление на магнитоелектрическата система е
r0 - 2500 Ω. /Начина на изчисляване в началото на приложения файл - smetki.pdf/
Според мен, в уреда са вграждани системи с различни параметри и вероятно затова в оригиналната документация,в списъка с елементи шунтовите съпротивления R20 - R25 не са означени.
Би било добре да измерите
I0 и
r0. При небходимост ги коригирайте:
r0 чрез добавъчното съпротивление а
I0 чрез винта в корпуса на системата който влияе на постоянния магнитен поток. Това ще коригира намаляването му причинено от стареенето на
магнита. Снимките са от цитираните по-горе сайтове


Стоиностите на шунтовите съпротивления /R20 - R25/ са дадени в опростената схема на свързване при измерване на анодния ток от сервизното описание на инж. Jan Tomek /shema_jt/. Те са навити на пластмасови сърцевини с проводник и монтирани на отделна платка заедно с добавъчните съпротивления R26,R27 и R28 ползвани при работа на уреда като волтметър. И шесте участват едновременно при работа на токовия делител при измерване на всички поддиапазони. Според Tomek те трябва да са с мощност 5 W и точност +/- 1%. Мисля, че са преоразмерени и реалната мощост е 1 W. При ползване на съпротивления 1 W губите "дуракоустойчивоста" на уреда.
Често съпротивленията са прекъснати или окъсили. Премерете ги. Заменете неизправните.


Анодното и екранното напрежение не са изправени. През анодната верига, респективно през вградения милиамперметър протича изправен пулсиращ ток с честотата на мрежовото напрежение. Инженерите на "Tesla" го привеждат към ефективен постоянен ток с коефициент 1/4. Например ефективният постоянен ток в диапазона на измерване 500 mA e 125 mA.
Проверката на уреда при измерване на анодния ток може да бъде извършена с карта 24 от комплекта измервателни карти. Тя се ползва при влючване на уреда за работа като постояннотоков милиамперметър:
- изключете уреда от мрежовото захранване;
- поставете превключвател P1 в положение "Ia a P2 в положение "HEATER";
- включете сонди от мултицет към клеми "A1" и "+" от клемореда Z;
- последователно на уреда вкючете външен постояннотоков милиамперметър с подходящи за измерването на постоянните токове обхвати /отбелязани върху картата/;
- поставете един щифт в отвора на щифтовото поле обозначен на измервателната карта като: 125 mA;
- от регулируем постояннотоков източник подаите напрежение започваики от 0V към двата последователно свързани милиамперметъра /можете да ползвате и батерия с напрежение по голямо или равно на 1,5V, като регулираτe на напрежението чрез потенциометър 4,7 - 10 κΩ/;
- при отчет на външния микроамперметър 125 mA, вграденият в уреда микроамперметър трябва да показва същата стойност с точност +/- 3%;
- повторете това за всички подобхвати отбелязани на измервателната карта.
Ако измереното от вътрешния микроамперметър съвпада с измереното от външния микроамперметър с точност +/- 3% за различните поддиапазони от картата, Вашият лампомер е готов за измерване на анодния ток.

[ Посоченият файл е недостъпен ]