| Начален сайт Сандъците  | "Библиотека Сандъците" | МОЖЕ ДА ПОДКРЕПИТЕ ФОРУМА С ДАРЕНИЕ >ТУК<

Автор Тема: Проверка на параметрите на Tesla ΒΜ-512Α  (Прочетена 10537 пъти)

0 Потреб. и 1 Гост преглежда(т) тази тема.

Неактивен sdjonov

  • Блуждаещ електрон
  • *
  • Публикации: 14
  • Населено място: Велико Търново
  • LZ2SPJ
Здравейте!

На един от съборите в Казанлък се сдобих с препатил тестер на електронни лампи Tesla ΒΜ-512Α. Прочетох множество теми и мнения в чешки, немски, полски, руски и унгарски форуми относно ремонта и работата с него. Събирах всякаква информация налична в мрежата и наскоро настъпи и неговият ред. Мисля, че успях  да го накарам да проработи. Днес вече пътува към новия си собственик. Дано да му бъде полезен!

Ще се позовавам на всички източници на информация и ще давам препратки към тях. Нямам претенции за авторство.

Едно доста подробно и сполучливо описание от г-н Bozo Balazs, на унгарски: http://www.elektroncso.hu/cikkek/bm215a.php

Виртуален исторически музей на чехословашката радиотехника с оригиналното описание и указания за работа, сервизно обслужване, тестови карти и генератор на нови тестови карти на чешки:http://www.oldradio.cz/meraky/bm215.htm

Темата на г-н Dirk от немския форум на приятелите на старото радио:https://www.gfgf.org/Forum/index.php?t=msg&goto=148&

Оказа се, че тестера, според мен ползва принципите от един стар патент на AVO изпълнен с формули, който прикачм под поста.

Искам да споделя основните моменти от проверката на тестера за функционалност, определяне на неизправностите и евентуалния ремонт преди да съм забравил за какво точно става въпрос.

Та реда...:
  • проверка за механични повреди и отстраняване;
  • проверка на функционалните параметри:

        - достоверност при измерване на анодния ток "Ia" с вградения микроамперметър;
        - проверка на фабрично зададените стойности на анодното "Ea",екранното "Eg2" и отоплителното "Vf" напрежение;
        - проверка на фабрично зададените стойности на отрицателното напрежение на първа решетка "Vg1".
« Последна редакция: 25 Януари, 2019, 16:11:55 от sdjonov »

Неактивен sdjonov

  • Блуждаещ електрон
  • *
  • Публикации: 14
  • Населено място: Велико Търново
  • LZ2SPJ
Проверка за механични повреди и отстраняване
« Отговор #1 -: 25 Януари, 2019, 19:53:28 »
109891-0
Един такъв уред, произведен в далечни години според „Radiomuseum”: https://www.radiomuseum.org/r/tesla_zkousec_elektronek_tube.html не може да не носи следите на времето и човешката „любов”. За целите на нашия разказ обаче механични повреди ще са само тези, които водят до промяна функционалността на тестера а не до „козметични” ефекти :
-   механично увреждане на вградения микроамперметър “M”;
-   механично увреждане на щифтовото поле “Pr”, клемореда “Z” и полето с цокли за проверяваните лампи;
-   повреди по превключвателите “P1” /за вида работа/, “P2” /за проверка целостта на отоплението и къси съединения между електродите на лампата/, “P3” /за регулиране на захранващото напрежение/ и бутона “Tb” /за проверка на захранващото напрежение/. Внимание! Превключвателите и бутона имат и /основната им/ механична част под лицевия панел на уреда;
-   прекъснати монтажни проводници във вътрешността на уреда;
-   всичко останало, което можете и не можете да си представите.

Огледайте отвън, разглобете и внимателно прегледайте отвътре.
Отстраняването – според Вашето въображение и възможности

« Последна редакция: 29 Януари, 2019, 21:46:01 от Gabo »

Неактивен sdjonov

  • Блуждаещ електрон
  • *
  • Публикации: 14
  • Населено място: Велико Търново
  • LZ2SPJ
Наложи се да помоля модераторите да изтрият предния пост, защото бях допуснал принципна грешка.

Благодаря на Валери и argonavt за съдействието!

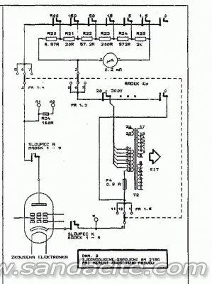
Функционални параметри/ точност при измерване на анодния ток "Ia"

Магнитоелектрическата система на уреда е с ток на пълно отклонение I0 - 200 μΑ и вътрешно съпротивление на подвижната бобина - 1040 Ω. В корпуса на система има добавъчно съпротивление, свързано /в моя случай/ естествено последователно. Не можах да го измеря понеже беше прекъснато. Наложи се да го пресметна - 1460 Ω. Общото вътрешно съпротивление на магнитоелектрическата система е r0 - 2500 Ω. /Начина на изчисляване в началото на приложения файл - smetki.pdf/
Според мен, в уреда са вграждани системи с различни параметри и вероятно затова в оригиналната документация,в списъка с елементи шунтовите съпротивления R20 - R25 не са означени.

Би било добре да измерите I0 и r0. При небходимост  ги коригирайте: r0 чрез добавъчното съпротивление а I0 чрез винта в корпуса на системата който влияе на постоянния магнитен поток. Това ще коригира намаляването му причинено от стареенето на
магнита. Снимките са от цитираните по-горе сайтове
110143-0110145-1

Стоиностите на шунтовите съпротивления /R20 - R25/ са дадени в опростената схема на свързване при измерване на анодния ток от сервизното описание на инж. Jan Tomek /shema_jt/. Те са навити на пластмасови сърцевини с проводник и монтирани на отделна платка заедно с добавъчните съпротивления R26,R27 и R28 ползвани при работа на уреда като волтметър. И шесте участват едновременно при работа на токовия делител при измерване на всички поддиапазони. Според Tomek те трябва да са с мощност 5 W и точност +/- 1%. Мисля, че са преоразмерени и реалната мощост е 1 W. При ползване на съпротивления 1 W губите "дуракоустойчивоста" на уреда.

Често съпротивленията са прекъснати или окъсили. Премерете ги. Заменете неизправните.
110147-2
110149-3

Анодното и екранното напрежение не са изправени. През анодната верига, респективно през вградения милиамперметър протича изправен пулсиращ ток с честотата на мрежовото напрежение. Инженерите на "Tesla" го привеждат към ефективен постоянен ток с  коефициент 1/4. Например ефективният постоянен ток в диапазона на измерване 500 mA e 125 mA.

Проверката на уреда при измерване на анодния ток може да бъде извършена с карта 24 от комплекта измервателни карти. Тя се ползва при влючване на уреда за работа като постояннотоков милиамперметър:

- изключете уреда от мрежовото захранване;
- поставете превключвател P1 в положение "Ia a P2 в положение "HEATER";
- включете сонди от мултицет към клеми "A1" и "+" от клемореда Z;
- последователно на уреда вкючете външен постояннотоков милиамперметър с подходящи за измерването на постоянните токове обхвати /отбелязани върху картата/;
- поставете един щифт в отвора на щифтовото поле обозначен на измервателната карта като: 125 mA;
- от регулируем постояннотоков източник подаите напрежение започваики от 0V към двата последователно свързани милиамперметъра /можете да ползвате и батерия с напрежение по голямо или равно на 1,5V, като  регулираτe на напрежението чрез потенциометър 4,7 - 10 κΩ/;
- при отчет на външния микроамперметър 125 mA, вграденият в уреда микроамперметър трябва да показва същата стойност с точност +/- 3%;
- повторете това за всички подобхвати отбелязани на измервателната карта.

Ако измереното от вътрешния микроамперметър съвпада с измереното от външния микроамперметър с точност +/- 3% за различните поддиапазони от картата, Вашият лампомер е готов за измерване на анодния ток.
110151-4 [ Посоченият файл е недостъпен ]
« Последна редакция: 29 Януари, 2019, 16:30:23 от Валери »

Неактивен sdjonov

  • Блуждаещ електрон
  • *
  • Публикации: 14
  • Населено място: Велико Търново
  • LZ2SPJ
Измервателната карта 24

Неактивен sdjonov

  • Блуждаещ електрон
  • *
  • Публикации: 14
  • Населено място: Велико Търново
  • LZ2SPJ
Файла с изчисленията:

 

Сходни теми

  Заглавие / Започната от Отговора Последна публикация
6 Отговора
9342 Прегледи
Последна публикация 17 Март, 2020, 02:03:00
от bxd
0 Отговора
3758 Прегледи
Последна публикация 08 Март, 2020, 15:40:20
от dragan
0 Отговора
5756 Прегледи
Последна публикация 13 Юни, 2020, 19:23:47
от Radko
8 Отговора
8339 Прегледи
Последна публикация 20 Април, 2023, 20:19:42
от lz1wvm
5 Отговора
9058 Прегледи
Последна публикация 08 Декември, 2025, 12:10:52
от Ангел Симеонов

ПОЛЕЗНИ ВРЪЗКИ

Начален сайт "САНДЪЦИТЕ" Библиотека "Сандъците"
ОТГОВОРНОСТИ: Всички мнения във ФОРУМА са лични мнения на техните автори и не отразяват официалното становище на собствениците му.
   Copyright: Освен ако не е посочено друго, съдържанието на този сайт е лицензирано под:
  Creative Commons Attribution License.
  Текстът на договора за ползване на български
Copyright © 2011 - Сандъците - сайт и форум за стара електроника - За контакти  

Партньори:  | Форум за конспирации, уфология и мистика | Кактус БГ |